本社
〒808-0109福岡県北九州市若松区南二島2丁目6番7号
TEL:093-701-3501
FAX:093-701-3386
軽量で断熱性に優れたセラミックファイバーを発熱体に組み合わせた高効率ヒーターです。省エネ性に優れ、炉内加熱、研究装置、工業加熱機器などに幅広く使用されています。形状自由度が高く、カスタム設計にも対応します。

| 高温特性 | セラミックファイバーヒータは、高温用発熱体と厳選されたセラミックファイバーで作られ、最高温度1200℃まで使用可能に設計されています。 |
|---|---|
| 早い応答性 | セラミックファイバーの重量は0.16g/㎝3~0.24g/㎝3で非常に軽く、従来の耐熱レンガと比較して10~12倍の早さで目的温度まで昇温する。そのため電力消費量も少なく、急熱急冷のため作業効率が非常によい。 |
| CADによる最適設計 | どのような仕様にでもお応えできるよう、CADによる設計でフレキシブル性をもたしております。 |
| 高品質 | ヒータ寿命、性質等の品質保証のため独自の製造設備と製造工程により一貫生産しており高品質、高精度の製品をお届けいたします。 |
| 早い特注品への対応 | 特注品にいつでも対応できる体制で設計製作しており、発熱ゾーンの分割や複数回路等の設計から、セラミックワッシャー、埋め込みビン・ネジなどの付属品の選択にいたるまで一貫生産を行っています。 |





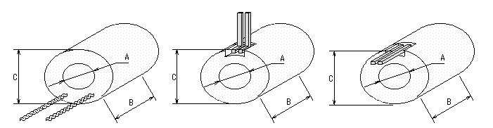
※図の各寸法及び形状、電圧、電気容量を指定してご発注ください。尚、ここにない形状も製作致しております。